Jtti's Singapore dedicated server is located in Singapore SG1 data center, E5-2660 series CPU, with pure SSD solid state drive, exclusive CN2 high-quality bandwidth, unlimited traffic, and stronger performance. The server supports scalability, can increase IP and bandwidth on demand, and supports equipment customization.
The following is the evaluation of the Jtti Singapore dedicated server:
Test machine configuration: E5-2660, 16G
First look at the delay effect of local ping, as shown below:

It can be seen that the average delay of the local ping is about 77ms. This delay is still very good for the Singapore server. The network is quite stable and there is basically no packet loss.
Let's take a look at the average delay of the national three-network ping through the tool, as follows:

You can see the ping results of the three networks. The telecom network delay is about 195ms, the Unicom network delay is about 77ms, and the mobile network delay is about 83ms.
Next, let's take a look at the network stability around the world, as follows:

It can be seen that the stability of the network around the world is very good. Basically, there is no packet loss. Occasionally, there is a packet loss on one or two nodes, but the overall stability is relatively stable.
Next, let's take a look at the outbound and city-back routes of the three networks:
Telecom outbound routing:

The outbound route of China Telecom goes out from the Shanghai network port, passes through the Hong Kong node, and arrives at the Singapore computer room, taking the CN2 line of 59.43.
Telecom back to the city route:

The telecom backhaul route is directly connected to the domestic network port through the Hong Kong node, and takes the CN2 line of 59.43.
China Unicom outbound route:

China Unicom's outbound routing is to go out from the Guangzhou network port, pass through the Hong Kong node, and arrive at the Singapore computer room, taking the AS9929 optimized line.
Unicom's route back to the city:

China Unicom's return route passes through the Hong Kong node and then directly connects to the domestic network port, using the AS9929 line.
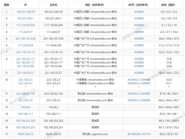
Mobile outbound routing:

The mobile outbound route is to go out from the Guangzhou network port, pass through the Hong Kong node, and then arrive at the Singapore computer room, taking the mobile CMI line.
Mobile backhaul routing:

The mobile backhaul route is directly connected from the computer room in Singapore back to the domestic network port, and the mobile CMI line is used.
To sum up: China Telecom's two-way CN2, China Unicom's two-way AS9929, and China Mobile's two-way CMI are all direct connections.
Let's take a look at the performance and speed of Jtti's Singapore dedicated server, as follows:

It can be seen that the server uses a 2.2GHz processor, and the disk WO reaches 267MB/s, which is quite good. The upload and download speeds both reached 20Mbps, basically running the bandwidth of the entire machine.
The above is the relevant evaluation and introduction of Jtti’s Singapore dedicated server. Overall, the performance of this Singapore dedicated server is still good. The three networks are in good condition, and the price is very high. Users who need a Singapore server can refer to it.
Note: The article comes from the evaluation of the third-party platform webmaster.
EN
CN