Jtti的新加坡独立服务器,位于新加坡SG1数据中心,E5-2660系列CPU、搭配纯SSD固态硬盘,独享CN2精品带宽,无限流量,性能更强劲。服务器支持可扩展,可按需增加IP和带宽,支持设备定制。
下面是Jtti新加坡独立服务器的测评情况:
测评机器配置:E5-2660、16G
先看看本地ping的延迟效果,如下所示:

可以看到本地ping的平均延迟在77ms左右,这个延迟对于新加坡服务器来说还是非常不错的,网络相当的稳定,基本上没有丢包的情况。
下面通过工具来看看全国三网ping的平均延迟情况,如下所示:

可以看到三网ping的结果,电信网络延迟在195ms左右,联通网络延迟在77ms左右,移动网络延迟在83ms左右。
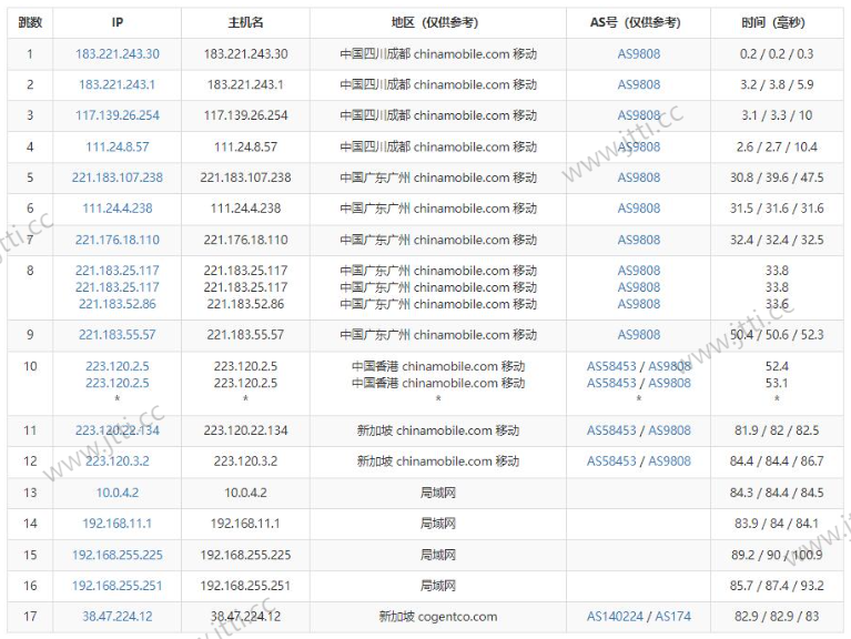
下面我们再来看看全球各地网络稳定性情况,如下所示:

可以看到全球各地的网络稳定性是很不错的,基本上都没有丢包的情况,偶尔在一两个 节点有丢包,但是整体上还是比较稳定。
接下来我们再看看三网去程和回城路由线路:
电信去程路由:

电信去程路由是从上海网口出去,经过香港节点后到达新加坡机房,走了59.43的CN2线路。
电信回城路由:

电信回程路由是经过香港节点直连国内网口,走59.43的CN2线路。
联通去程路由:

联通去程路由是从广州网口出去,经过香港节点后到达新加坡机房,走AS9929优化线路。
联通回城路由:

联通回程路由经过香港节点后直连国内网口,走的是AS9929线路。
移动去程路由:

移动去程路由是从广州网口出去,经过香港节点后到达新加坡机房,走移动CMI线路。
移动回程路由:

移动回程路由是从新加坡机房直连回到大陆国内网口,走的是移动CMI线路。
总结下:电信双向CN2、联通双向AS9929、移动双向CMI,都是直连线路。
下面我们再看看Jtti这款新加坡独立服务器的性能和速度怎么样,如下所示:

可以看到服务器使用的是2.2GHz处理器,磁盘WO达到了267MB/秒,这个性能还是相当不错的。上传和下载速度都到达了20Mbps,基本跑满了整个机子的带宽。
以上就是关于Jtti的新加坡独立服务器的相关测评介绍,整体来说这款新加坡独立服务器性能还是可以的,三网网络状况都很不错,而且性价比很高,有需要新加坡服务器的用户可以参考选择。
注:文章来源于第三方平台站长测评。
CN
EN