Jtti美国独立服务器位于洛杉矶T3+数据中心,套餐标配3个IP,独享50M CN2带宽,不限流量,下单免费送20G防御,多操作系统可选,带宽和IP支持自定义扩展,支持设备定制。
下面来看Jtti美国独立服务器套餐配置:
Jtti美国独立服务器测评情况:
测试机器配置:E5-2660 V2、16G
先看看本地Ping的延迟效果,如下所示:

可以看到本地Ping的平均延迟在164ms,这个延迟对于美国机房来说还是相当不错了,并且网络很稳定,没有丢包的情况。
下面我们看看全国三网Ping的平均延迟情况,如下所示:

可以看到全国三网Ping的平均延迟在165ms左右,和我本地差不多,电信网络延迟163ms左右,联通网络延迟153ms左右,移动网络延迟在235ms左右。
我们再通过第三方工具测试下全球各地节点网络稳定性情况,如下所示:

可以看到全球各地网络稳定性是相当不错的,不管是国内还是国外,基本没有一个节点有丢包的情况,很少有这么稳定的服务器了。
下面我们看看Jtti这款美国独立服务器三网的去程路由线路和回程路由线路。
电信去程路由:

电信去程路由是从上海网口出去,然后直连洛杉矶机房,并且走的是59.43的CN2 GIA线路。
联通去程路由:

联通去程路由是从上海网口出去,然后直连洛杉矶机房,走的是AS9929的联通优化线路。
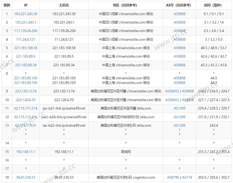
移动去程路由:

移动去程路由是从上海网口出去,经过圣何塞、帕洛阿尔托节点后到达洛杉矶机房,走的是移动CMI线路。
下面我们再来看看三网回程路由线路情况。
电信回程路由:

电信回程路由是直连回到国内网口,并且走了59.43的CN2线路。
联通回程路由:

联通回程路由直连回到国内网口,并且走AS9929优化线路。
移动回程路由:

移动回程路由是从洛杉矶机房直连回国内网口,走的联通AS9929优化线路。
所以总结下去程和回程路由情况:电信双向CN2线路;联通双向AS9929优化线路;移动去程CMI回程AS9929线路。总的来说Jtti的这款美国独立服务器线路还是相当不错的。
下面我们再看看服务器性能和下载速度怎么样,如下所示:

可以看到服务器使用的是2.2GHz处理器,磁盘I/O在214MB/秒左右,性能还是不错的。服务器的上传和下载速度基本都跑满了50Mbps,这个和套餐上写的带宽是—致的。
以上就是关于tti的美国独立服务器相关测评介绍,整体来说这款美国独立服务器网络还是相当不错的,不管是在国内还是国外都是非常稳定的,有需要的用户可以根据自己需要参考选择。
注:文章来源于第三方站长测评。
CN
EN