Jtti是一家专业的新加坡服务商,自营香港/美国/新加坡多个海外数据中心,主要提供云服务器、物理服务器以及高防服务器等产品,Jtti香港服务器租用,标配3个IP,支持Windows和Linux操作系统,带宽、IP均可自定义,最高可享1G大带宽。
下面是Jtti香港服务器测评情况,E5-2660 CPU、16G配置
先看看本地Ping的延迟效果,如下所示:

可以看到本地Ping的平均延迟在45ms左右,这个延迟对于香港服务器来说还是相当不错的,并且可以看到网络很稳定,基本没有丢包的情况。
下面看看全国三网Ping的延迟效果,如下所示:

全国三网Ping的平均延迟在53ms左右,其中电信网络50ms,联通网络107ms,移动网络50ms.
下面是通过第三方工具测评的全球各地网络稳定性情况,如下所示:

可以看到全球各节点网络稳定性还是相当不错的,不管是国内还是国外基本都没有丢包的情况,亚洲地区延迟都在100ms以内。
我们下面来看看香港服务器三网去程和回程路由情况。
电信去程路由:

电信去程路由是从上海网口出去,然后直连香港机房,走的是59.43的CN2线路。
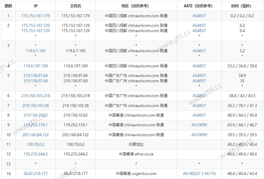
联通去程路由:

联通去程路由是从广州网口出去,然后直连香港机房,走的是AS4837线路。
移动去程路由:

移动去程路由是从广州网口出去,然后直连香港机房,走的是移动CMI线路。
下面我们再看三网回程路由情况。
电信回程路由:

电信回程路由直连国内网口,并且走的是59.43的CN2线路。
联通回程路由:

联通回程路由从广州网口进入,走AS4837线路。
移动回程路由:

移动回程直连国内网口,走CMI线路。
所以总结下就是:电信双向CN2.联通双向AS4837.移动双向CMI。
最后我们看看香港服务器性能和速度怎么样,如下所示:

可以看到这款香港服务器使用的2.2 GHz主频CPU,磁盘IO在378MBI秒左右,性能还是不错的。上传速度差不多达到了100Mbps,下载速度跑满10Mbps。
以上就是关于Jtti的香港服务器相关测评介绍,整体来说这款香港服务器还是相当不错的,延迟低、网络稳定、速度快,适合国内用户使用。
注:文章来源于第三方站长测评。
CN
EN